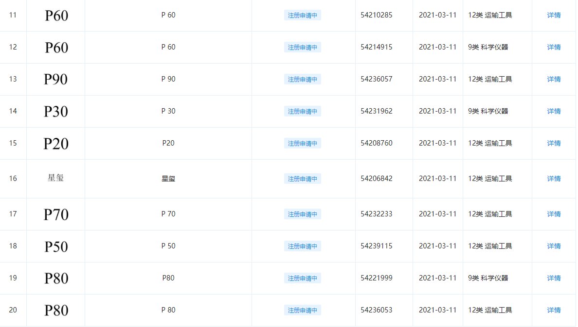
华为手机商标已申请注册至P100,华为为何会这样做?
的有关信息介绍如下:华为公司已经成为国内有影响力的互联网科技公司之一,并且华为公司研发出来的信息通讯技术遥遥领先于其他科技公司。这也导致华为公司每一年都会根据不同的情况生产出多部不同系列的手机,现如今,华为手机商标已经申请注册到p100。我觉得华为公司之所以会将商标注册至p100,是为了避免后期许多手机制造商对相同的网络商标进行注册。华为公司无法获得该系列手机的商标权,就无法开展全新系列手机的生产工序和设计。与此同时,华为公司将商标注册到p100可以保证整个公司的研发部门表拥有充足的创作空间。

第一个原因:华为公司比较重视商标权和名称
绝大部分公司都会对企业相关的商标和名称到专门的网站上进行注册和申请,当网站上通过每一家公司的商标和名称申请时,这些商标和名称就属于这家公司所有。如果其他公司设计出相似的商标或使用与公司名称相似的名称,这就有可能导致后来的公司出现侵权现象。华为公司是一家比较重视商标权和名誉权的互联网科技公司,于是,华为公司将商标注册到p100可以凸显华为公司的预见性。

第二个原因:华为公司为了避免其他公司强行注册相似的名称和图标
一家比较成熟的互联网科技公司会根据不同的情况对产品进行注册和规划,华为公司经过多年的发展与规划之后,早已形成了一套比较完善的商标注册模式。如今,华为公司将公司商标申请注册制p100,这也说明华为公司比较重视华为p系列手机。公司会按照不同的发展状况生产不同系列的手机,但华为公司每一年都会推出p系列。为了防止其他公司抢先注册相关的商标,华为公司提前进行注册可以保证华为公司商品的图标和销售量。

第三个原因:华为公司拥有独特的产品规划和企业规划
众所周知,每一家互联网公司发展的速度不尽相同,但每一家公司都会制定比较长远的发展计划和公司系列产品的推出时间。华为公司每一年都会推出大量的高科技产品,这也意味着华为公司需要应用到大量的手机商标和名称。华为公司的这一做法是在维护企业形象,期待华为公司推出更具性价比旗舰手机。



